کمپانی اپل، اولین اختراع مرتبط با صنعت خودروسازی خود را در ایالات متحده آمریکا به ثبت رساند. این اختراع و شواهد مربوط به ثبت آن در ایالات متحده، نشان از آن دارد که اپل هنوز در حال کار برروی یک خودرو است. اختراع جدید اپل به احتمال زیاد در خودروی آتی این کمپانی مورد استفاده قرار خواهد گرفت و شایعات اخیر درباره تمرکز این کمپانی برای ساخت یک خودرو با تکنولوژیهای پیشرفته را تقویت میکند.در واقع که اپل به دنبال تولید یک خودروی واقعی است!

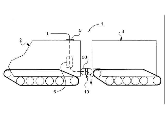
اختراع اپل نشان دهنده یک وسیله نقلیه بوده که به لطف اهرمها و اتصالات میانی خود امکان چرخش کامل و یا 180 درجه را دارد. این اختراع شباهت زیادی به زره پوشها و خودروهای نظامی دارد؛ ولی این موضوع به این معنی نیست که اپل به دنبال تولید یک خودروی نظامی است.

انتشار اطلاعات خودروی آینده اپل و اطلاعات مربوط به آن بسیار خطرناک بوده و جهان خودرو را تبدیل به عرصه تاخت و تاز غولهای خودروسازی برای نبرد با اپل خواهد کرد؛ درست همانند زمانی که تسلا ایده ساخت و توسعه خودروهای الکتریکی خود را مطرح کرد. کمپانی اپل همیشه برای آینده طرحها و ایدههای جالبی دارد و همین موضوع باعث میشود که ما مشتاقانه منتظر اختراعات بیشتر و در نهایت رونمایی از خودروی اپل باشیم.










با سلام
از قديم گفتن كار هر بز نيست خرمن كوفتن گاو نر مي خواهد و مرد كهن .
درسته نوآوري داره ولي فكر كرده مثل گوشي ميومنه مطمعننا از اصول اوليه فني خودرو چيزي نمي دونه الان همين تسلا فعلا داره عقب گرد مي كنه با چند تا سوتي كه داد اپل كه ديگه نوبره