در دنیایی که سرعت پیشرفت فناوریهای خودکارسازی بسیار بالاست، برخی از ایدهها بسیار ناکارامد به نظر میرسند. در سمتی دیگر همچنان خودروهای ساده و فوقالعادهای وجود دارند که زندگی را بدون آنها نمیتوان تصور کرد.
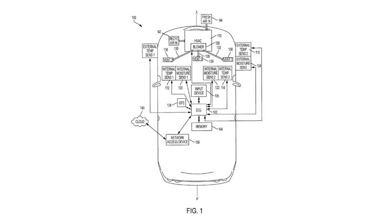
سیستم خودکار کنترل دمای داخل خودرو و همینطور سیستم ضد رطوبت برای منازل، دهههاست که وجود دارد اما سیستم یخشکن شیشه خودرو هرگز قابلیت متعارفی نبوده است. در هسته طراحی تویوتا تعداد زیادی سنسور وجود دارد که دمای هوا بیرون، داخل و میزان رطوبت خودرو را میسنجند. تمامی این سنسورها به یک سیستم الکترونیکی مرکزی متصلند که قادر است با تحلیل دادههای ورودی و تنظیم کردن سیستم تهویه، رطوبت را از روی شیشهها پاک کند.

البته این فناوری در خودروهای دیگر نیز مشاهده شده است. تفاوت سیستم تویوتا با دیگران این است که ECU تویوتا قادر است رطوبت و یخزدگی را بر روی شیشه پیشبینی کند و از ایجاد شدن آن جلوگیری نماید. تویوتا همینطور از سیستم GPS خودرو برای یافتن مکان آن استفاده میکند. به این صورت که دادههای بدست آمده از GPS را به دیگر دادهها اضافه کرده و برای پیشبینی رطوبت از آن استفاده میکند.
البته این فناوری هنوز در حال آزمایش است و تضمینی نیست که آن را در خودروهای آینده ببینیم. ضمنا روشن کردن گرمکن شیشه آنقدر کار دشواری نیست که نیاز به خودکار شدن داشته باشد. لازم است بدانیم تا زمانی که قیمت خودرو پایین بماند، تجهیزات خودکار برای هر رانندهای لذتبخش است.









