اختراع جالب تویوتا برای یافتن اشیاء گم شده در خودرو!

اختراع جالب تویوتا برای یافتن اشیاء گم شده در خودرو!

اختراع جالب تویوتا برای یافتن اشیاء گم شده در خودرو!

به راستی گم کردن و یا افتادن وسایل شما بین فضای خالی کنسول و صندلی‌های جلو یک اتفاق ناامیدکننده است! بارها شده است که بعضی از ما؛ برخی از لوازم خود را در شکاف موجود بین صندلی‌های جلو و کنسول خودروی خود گم کرده و با چشمانی اشک‌بار و خشمگین به دنبال شیء گم شده خود گشته‌ایم. در واقع فضای مذکور مانند یک سیاهچاله فریبنده و خطرناک است! زیرا ممکن است که شما کلیدهای خودرو و یا تلفن همراه خود را بر اثر یک اشتباه ساده به درون آن بی‌اندازید و با زحمت و تلاش فراوانی آنها را پیدا کنید.

اختراع جالب تویوتا برای یافتن اشیاء گم شده در خودرو!

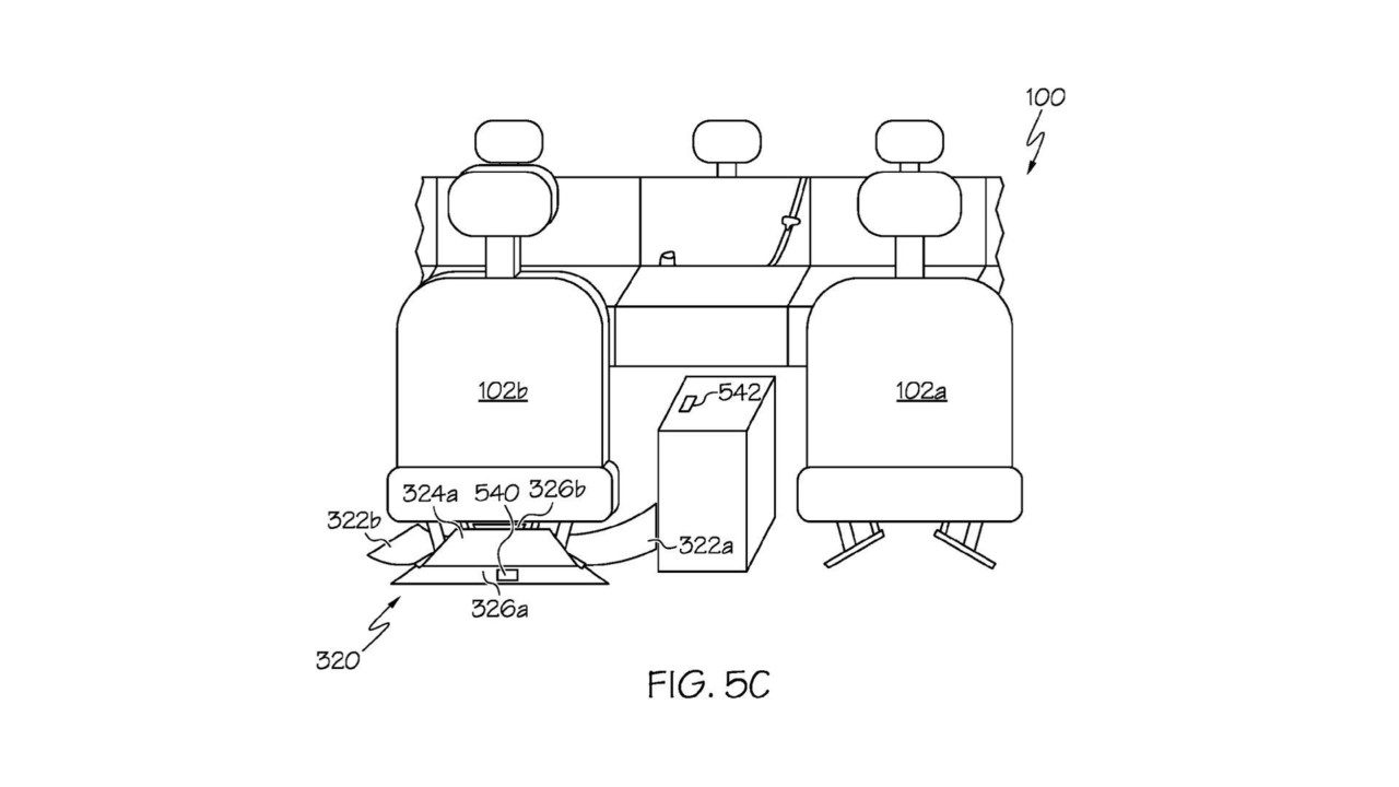
اما تویوتا به خوبی احساسات ما را درک کرده و با ثبت اختراع جدید خود در ایالات‌متحده آمریکا کور سوی امیدی در دل رانندگان حواس‌پرت ایجاد کرده است. تویوتا یک صندلی و یا یک جعبه را بین صندلی‌ها و کنسول قرارداده و شما وسایل خود را در درون آن قرار می‌دهید؛ سپس آن صندلی و جعبه مورد بحث به شکل خودکار فعال شده و وسایل شما را به زیر صندلی‌های جلو می‌برد! به این ترتیب هر چیزی که در شکاف مورد بحث ما بی‌افتد؛ در واقع به درون محفظه زیرین تویوتا افتاده و به راحتی و با فشاردادن یک دکمه ساده همه چیز بیرون آمده و شیء شما پیدا خواهد شد.

اختراع جالب تویوتا برای یافتن اشیاء گم شده در خودرو!

این سیستم کمک زیادی به یافتن اقلام گم شده رانندگان می‌کند؛ اما باید توجه داشت که نوع ثبت اختراع آن به گونه ایست که رانندگان در هنگام رانندگی امکان استفاده از آن را خواهند داشت. حق ثبت اختراع تویوتا شامل تمام سیستم‌های مشابه با طرح اصلی آنها است؛ ولی ثبت اختراع مذکور به معنی تولید و پیاده‌سازی آن در محصولات آینده شرکت تویوتا نیست؛ با این وجود اگر صادق باشیم باید قبول کرد که سیستم اختراعی تویوتا بسیار ویژه و کاربری است.

دیدگاه‌ خود را بنویسید

نشانی ایمیل شما منتشر نخواهد شد. بخش‌های موردنیاز علامت‌گذاری شده‌اند *

پیمایش به بالا